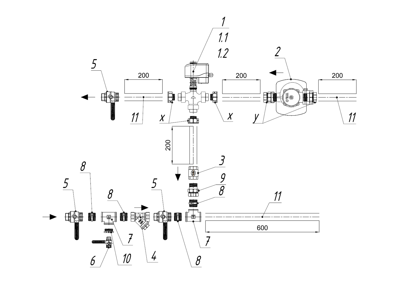
Арт. Схема 1H
Узел регулирования для водного нагревателя со схемой исполнения 1Н
Характеристики
Kvs (пропускная способность клапана)
—
0,63 - 63 м3/ч
Диаметр узла регулирования
—
15 - 50 мм
Схема исполнения 1Н
- 1. Клапан регулирующий трехходовой
- 1.1. Адаптер для привода
- 1.2. Привод клапана, 24В, упр. 0-10В
- 2. Насос циркуляционный
- 3. Обратный клапан
- 4. Фильтр сетчатый
- 5. Шаровой кран, с ручкой рычаг
- 6. Шаровой кран, с ручкой рычаг
- 7. Тройник сталь
- 8. Ниппель
- 9. Разъемное соединение американка
- 10. Футорка
- 11. Труба стальная водогазопроводная

